88E2010-A1-BUS4I000以太網 IC Marvell
發布時間:2023-07-10 17:01:11 瀏覽:3554
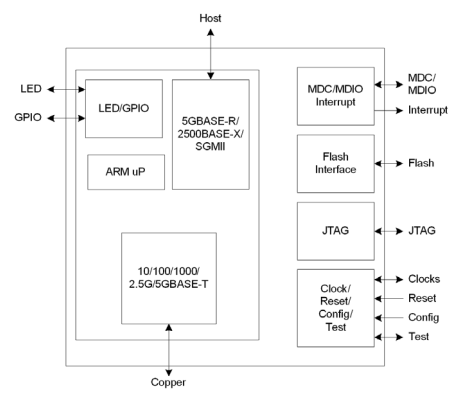
Marvell?Alaska?M88E2010/88E2040L是個滿足IEEE802.3bz標準化的1接口(88E2010)或4接口(88E2040L)物理層(PHY)設備系列。88E2010-A1-BUS4I000提供多種服務器側接口,包含5GBASE-R、2500BASE-X和SGMII,以支持和低速度傳統式以太網速率的充分向后兼容性,包含:1Gbps、100Mbps和10Mbps。
88E2010-A1-BUS4I000的靈活性使所有的結構化布線電纜長度都能做到極低功率,以此來實現密集的5Gbps技術應用。88E2010-A1-BUS4I000兼容6類(屏蔽或非屏蔽)、6A類(增強型)、7類電纜線和5e類電纜線,間距相當于100米。

特征
?1或4接口,5速PHY。在UTP銅線上以10M、100M、1G、2.5G或5G數據速率工作。
?滿足IEEE802.3bz規范,應用于2.5G和5G模式
?所有的設備上5GBASE-R、2500BASE-X和SGMII系統側接口
?允許密集的多終端2.5G/5G技術應用
?誤碼率高于1E-15
?應用于2.5G和5G模式的CAT5e超過100米
?第45條MDC/MDIO管理接口
?應用于88E2010單接口技術應用的中小型10mm×12mmHFCBGA封裝;適用于88E2040L四接口應用的23mm×23mmHFCBGA封裝
?有商業級和工業級可選擇
Marvell在數據傳輸、網絡、存儲解決方案方面,始終保持前沿。深圳市立維創展科技有限公司擁有優勢Marvell分銷資源,期待與各同行客戶合作。
詳情了解Marvell請點擊:http://www.qxjyj.com/brand/83.html
推薦資訊
VY1222M47Y5UQ6TV0是一款由VISHAY生產的高頻陶瓷圓片電容器,電容值0.0022uF,公差±20%,采用徑向端接,引線直徑0.6毫米,間距10毫米。設計由兩面鍍銀的陶瓷盤組成,連接引線為鍍錫銅包鋼,封裝為阻燃環氧樹脂,符合UL 94 V-o標準。符合IEC 60384-14標準,適用于X1和Y1類安全電容器,主要用于行對行濾波、線路對地濾波、主輔耦合、EMI/RFI抑制和濾波等。
Interpoint? MFK系列DC-DC轉換器,輸入16V到50V,效率87%,功率密度42 W/in3,符合MIL-PRF-38534標準,提供單輸出和雙輸出選項,適用于高可靠性應用。
在線留言